一、卫生健康热线(健康码赋码转码规则,核酸检测、发热门诊、疫苗接种、阳性确诊、密接、次密接和来自中高风险地区人员数据等事宜):12320。
二、省应对新冠肺炎疫情工作领导小组外事组咨询服务电话:0591-87845055(面向外籍人士);0591-87301239(面向海外乡亲)。
三、省应对新型冠状病毒感染肺炎疫情工作领导小组交通检疫组应急物资运输保通保畅公开电话:0591-87077761;传真:0591-87602136。
四、闽政通App、福建健康码技术咨询电话(用户认证、人脸识别、平台运维等事宜,服务时间8:00-12:00 14:00-18:00):0591-62623959。
五、政务热线电话(信息摸排、社区防控管理、应急处置等事宜):12345。
六、通信大数据行程卡客服热线:10000/10086/10010。
七、通信管理局服务热线(潜在关联人员、重点区域和专项协查数据等事宜):0591-12300(电信用户申诉)、0591-83175175(电信业务咨询受理)、0592-5101578(厦门电信业务咨询)。
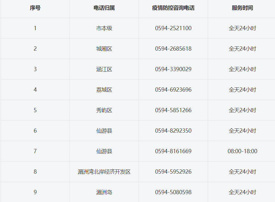
莆田市:

扫一扫在手机上查看当前页面